transfo como de luxe 2 (Gezocht)
door coco50, 20-10-2025, 12:44 (194 dagen geleden)
ik zoek een tranfo met nummer 9060-114.01
heeft iemand deze nog liggen?
alvast bedankt
transfo como de luxe 2
door Maurice
, Dordrecht, 20-10-2025, 18:43 (194 dagen geleden) @ coco50
Gewijzigd door Maurice, 20-10-2025, 18:47
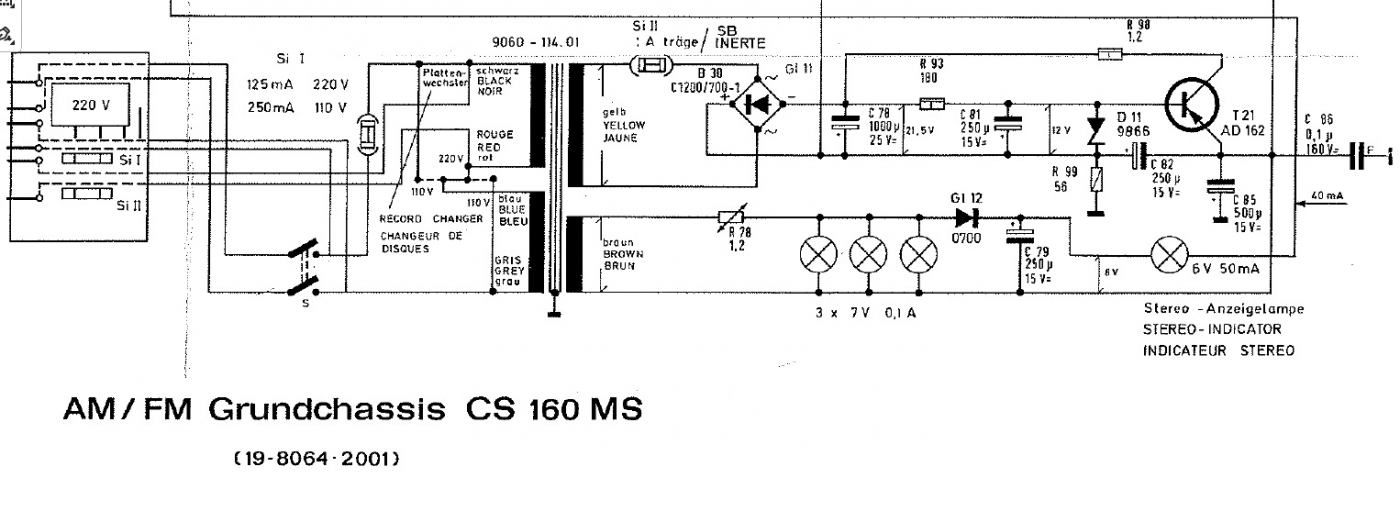
Even uitleggen
We hebben het hier over het merk GRUNDIG
Het radio chassis wat in meubel zit heet CS160MS
Betekend dat deze in meerdere modellen voorkomt.
De vraag gaat over de voedingstransformator.
Met secondair 6Vac
2e
De zener spanning D11 is 12V dat is de bedrijfsspanning van toestel.
Dat maakt het wel makkelijk een vervang trafo te vinden.
Desnoods een standaard 12Vdc adapter en een adapter van 6Vdc
Voor de 3 schaal lampjes maakt niet uit of ze nu AC of DC krijgen.
Wel voor het 4e indicatie lampje die moet gelijkspanning hebben.
![[image]](images/uploaded/2025102016451068f6671616e8e.jpg)
![[image]](images/uploaded/2025102016472268f6679ab0278.jpg)
transfo como de luxe 2
door Maurice
, Dordrecht, 21-10-2025, 10:52 (193 dagen geleden) @ Maurice
Gewijzigd door Maurice, 21-10-2025, 11:24
Elco C28 is 21Vdc zie ik nu.
Dus trafo zal iets van 18Vac zijn.
Echter nodig voor regeling van de voeding.
Rest is 12Vdc
transfo como de luxe 2
door Leo Snoeren
, Dongen, 21-10-2025, 11:09 (193 dagen geleden) @ Maurice
Elco C28 is 21Vdc zie ik nu.
Dus trafo zal iets van 18Vac zijn.
De elco is 25 volt. Een trafo van 18 volt geeft teveel spanning, je komt dan net boven de 25 volt. Bovendien is in het schema aangegeven dat over de bufferelco een spanning van 21.5 volt staat. Een trafo met een spanning van 15 volt zou dus prima werken...
--
Met vriendelijke groet,
Leo Snoeren
https://www.rrd.link/ (onder constructie)
leosnoeren(apenslingertje)freedom.nl
transfo como de luxe 2
door coco50, 01-11-2025, 15:00 (182 dagen geleden) @ Leo Snoeren
deze zou ook met twee apparte tranfo's kunnen werken in dat geval
als ik het goed begrijp.
transfo como de luxe 2
door coco50, 21-10-2025, 12:42 (193 dagen geleden) @ coco50
Gewijzigd door coco50, 21-10-2025, 12:50
beste
bedankt voor de reacties maar heb nog 1 vraagje
ik heb nog een tweede toestel ook een grundig como de luxe
deze speelt erg goed
alleen als ik de lampje met de juiste waarde er in steek
daalt de verlichting tot een minimum
ook de stereo lampje verzwakt heeft iemand dit al voorgehad ?
en waar moet ik naar gaan kijken?
heb al enkele elco's vervangen,blijkt niets uit te maken.
hopelijk kunnen jullie mij op weg zetten waar ik naar moet naar zien.
alvast bedankt
transfo como de luxe 2
door Maurice
, Dordrecht, 21-10-2025, 16:44 (193 dagen geleden) @ coco50
Sluiting in lamp houdertje
Kijk die goed na
transfo como de luxe 2
door henk vdb
, Breda, 21-10-2025, 17:08 (193 dagen geleden) @ coco50
Ik zou R78 eerst eens controleren. Dit is vermoedelijk een NTC. Het is geen probleem om deze om te testen even te overbruggen. Wel eerst controleren wat Maurice al zei, of er geen kortsluiting in een van de lamphouders ontstaat.
Als R78 te hoogohmig geworden is zal de spanning bij aanbrengen van lampjes ook in elkaar kunnen zakken.